元股证券:ygzq.hk配资开户门槛
数据宝统计,4月22日龙虎榜中营业部资金净买入22.02亿元,其中,净买入的个股20只,净卖出的个股16只。净买入较多个股分别是东山精密、梅花生物、传艺科技等,净买入金额占当日成交额比例达9.60%、18.23%、12.91%。此外,营业部净卖出居前个股分别为株冶集团、维科技术、神剑股份等,净卖出金额占当日成交额比例达4.16%、6.63%、1.44%。
举报 相关阅读
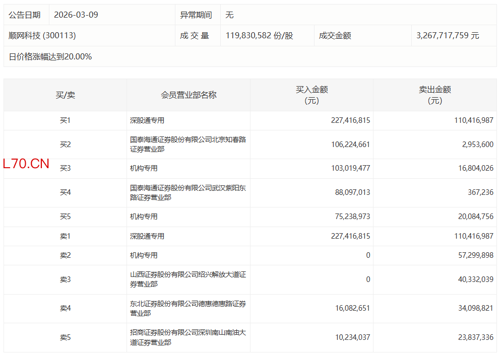
顺网科技今日20%涨停,2家机构专用席位净买入1.41亿元顺网科技今日20%涨停,2家机构专用席位净买入1.41亿元
03-09 16:36
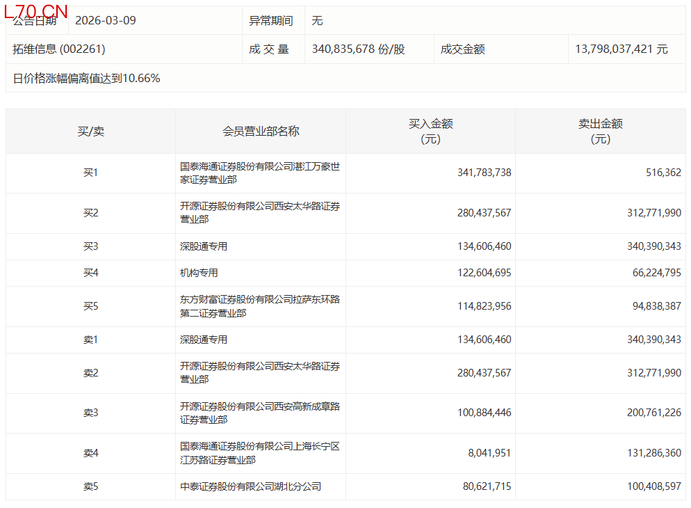
拓维信息今日涨停,国泰海通湛江万豪世家证券营业部净买入3.41亿元拓维信息今日涨停,国泰海通湛江万豪世家证券营业部净买入3.41亿元
配资炒股 03-09 16:35
首华燃气今日20%涨停,有3家机构专用席位净卖出2.16亿元首华燃气今日20%涨停,有3家机构专用席位净卖出2.16亿元
03-03 16:41
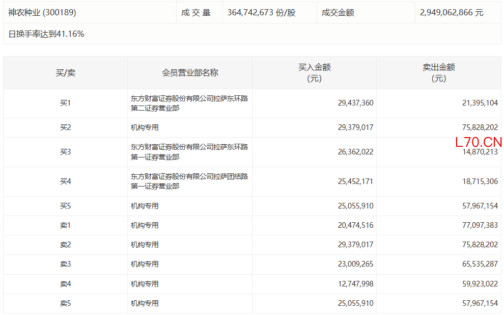
神农种业今日跌1.6%,有5家机构专用席位净卖出2.26亿元神农种业今日跌1.6%,有5家机构专用席位净卖出2.26亿元
02-04 16:38
中金岭南今日跌停配资开户门槛,有2家机构专用席位净卖出1亿元中金岭南今日跌停,有2家机构专用席位净卖出1亿元
02-02 16:59 一财最热 点击关闭
港股市场在当前结构性行情阶段里中杠杆炒股的资金效率实战经验近期,在境内外股市的宽幅震荡周期中,围绕“杠杆炒股”的话题再度
2026-02-27
过去三年亚太股市在当前存量博弈格局里中杠杆炒股的合规边界机会近期,在A股市场的热点快速轮动时期中,围绕“杠杆炒股”的话题
2026-03-01
新兴市场股市便捷配资炒股的因子暴露控制新特征与变化观察近期,在国际金融市场的指数维持横盘但个股剧烈分化的阶段中,围绕“便
2026-03-04
元股证券:ygzq.hk 3月20日早间,和讯投顾魏玉根分析称,今天看修复急跌必反弹,美股也是低开高走,科技股反弹,有色
2026-03-22
元股证券 据新华社援引伊朗伊斯兰共和国通讯社15日报道股票配资有没有后台,伊朗总统佩泽希齐扬当天批评国际体系中的双重标准
2026-04-18