今日(4月15日)A股共31只个股发生大宗交易,总成交23.31亿元,其中宁德时代、海光信息、贝泰妮成交额居前股票配资与基金开户平台,成交额依次为7.13亿元、5.13亿元、3.9亿元。成交价方面,共3只股票平价成交,0只股票溢价成交,28只股票折价成交;同力股份、温氏股份、佳驰科技折价率居前,折价率依次为30.29%、19.84%、19.24%。机构专用席位买入额排名:宁德时代(7.13亿元)、贝泰妮(3.9亿元)、海光信息(2.05亿元)、壹连科技(9691.15万元)、钧达股份(9010.55万元)、罗博特科(6437.42万元)、东方财富(5955万元)、芯原股份(2688.96万元)、胜科纳米(1279.5万元)、特发服务(1118.44万元)、毕得医药(634.6万元)、聚和材料(297.5万元)。机构专用席位卖出额排名:宁德时代(7.13亿元)、东方财富(5955万元)、华工科技(289.73万元)。
举报 第一财经广告合作,请点击这里此内容为第一财经原创,著作权归第一财经所有。未经第一财经书面授权,不得以任何方式加以使用,包括转载、摘编、复制或建立镜像。第一财经保留追究侵权者法律责任的权利。如需获得授权请联系第一财经版权部:banquan@yicai.com 相关阅读
圣阳股份今日涨停,4家机构专用席位净买入1.32亿元圣阳股份今日涨停,4家机构专用席位净买入1.32亿元
配资网站
昨天 16:27
巨力索具今日涨停,2家机构专用席位净买入1.39亿元巨力索具今日涨停,2家机构专用席位净买入1.39亿元
04-09 16:30
特发信息今日涨停,3家机构专用席位净买入1.17亿元特发信息今日涨停,3家机构专用席位净买入1.17亿元
元股证券:ygzq.hk 04-09 16:28
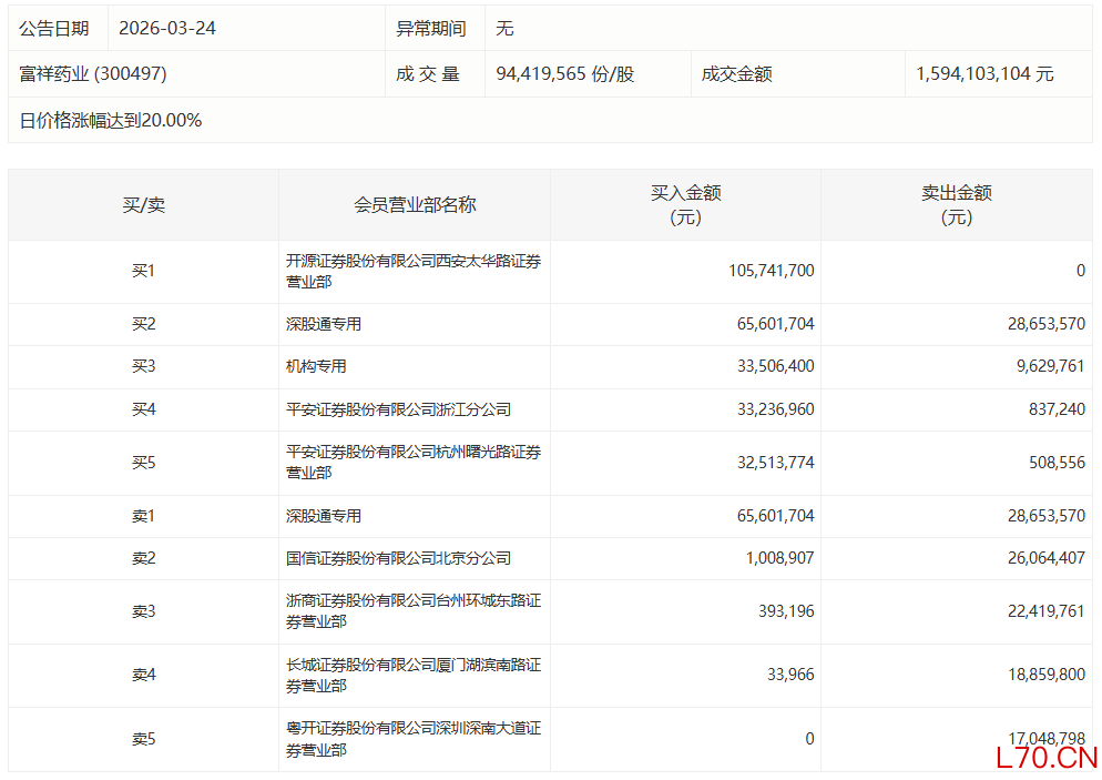
富祥药业今日20%涨停,开源证券西安太华路证券营业部净买入1.06亿元富祥药业今日20%涨停,开源证券西安太华路证券营业部净买入1.06亿元
03-24 16:31
航天发展今日涨停股票配资与基金开户平台,华泰证券岳阳岳阳大道证券营业部净买入3.22亿元航天发展今日涨停,华泰证券岳阳岳阳大道证券营业部净买入3.22亿元
02-25 16:31 一财最热 点击关闭
过去三年境内外股市在宽幅震荡周期中中配资炒股的资产配置常见误近期,在境内外股市的存量博弈格局中,围绕“配资炒股”的话题再
2026-02-27
案例解读:中小资金在当前结构性行情阶段里使用杠杆炒股的市场情近期,在亚太股市的结构性行情阶段中,围绕“杠杆炒股”的话题再
2026-02-28
3月30日,国家数据局党组召开扩大会议。会议强调,要以世界数据组织成立为契机,深刻把握智能时代发展大势以及数据高流动性、
2026-04-02
配资炒股 观点网讯:3月27日,商务部发布数据显示,2025年,我国居民数字消费规模达25.3万亿元股票配资注意事项,同
2026-03-28
3月26日金融一线消息,中国平安公布2025年全年业绩。其中当日盈亏怎么看,财产保险业务规模持续增长,经营质效稳步提升。
2026-04-13